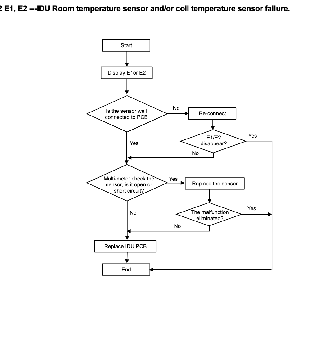
E1, E2. Indoor Unit Room temperature sensor and/or coil temperature sensor failure.
E1, E2 Error Code Mini Split Air Conditioner 26 de marzo de 2025 Compartir Compartir Enlace Cerrar compartición Copiar enlace E1, E2. Indoor Unit Room temperature sensor and/or coil temperature sensor failure. Regresar al blog Deja un comentario Nombre * Correo electrónico * Comentario *