Noticias

E1, E2 Error Code Mini Split Air Conditioner
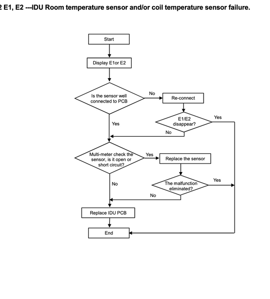
E1, E2 - Indoor Unit Room temperature sensor and/or coil temperature sensor failure.
E1, E2 Error Code Mini Split Air Conditioner
E1, E2 - Indoor Unit Room temperature sensor and/or coil temperature sensor failure.
